BMW Motorrad - Engine (11) for R 80 GS PD - ECE
Click on a diagram below to view and purchase parts
11_1693Protecting cover - chain cover
11_1971Piston, single components
11_1679Engine
11_1702Oil pump
11_1686Short engine / Cylinder with pistons Short engine / Cylinder with pistons
11_1703Oil filter, dipstick
11_4699Operating resources
11_1690"Nikasil"-cylinder
11_1689Bearing cover/oil pan/aggregate guard
11_1696Crankshaft mounting
11_1694Cover panel / engine ventilation
11_1695Crankshaft/Connecting rod/Mounting parts
11_1688Engine housing mounting parts
11_1692Cylinder head / Cover / Gaskets
11_1697Camshaft, camshaft gear, timing chain
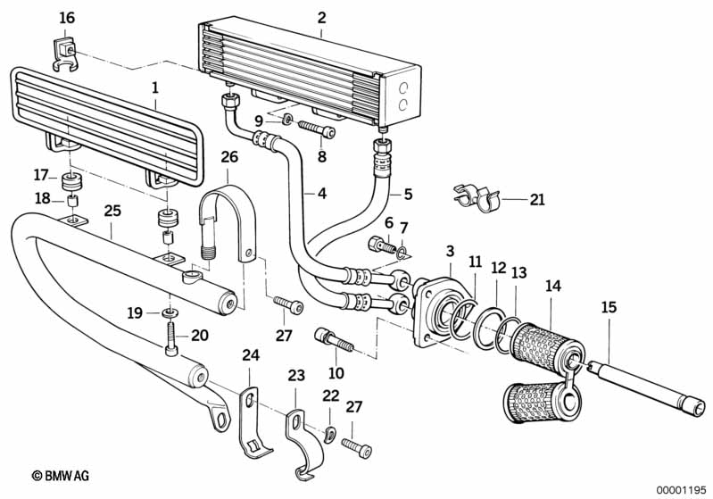
11_1815Oil cooler installation set/single parts
11_1792Valves, valve timing gear, rocker arm













