BMW Motorrad - Transmission (23) for K 1200 RS, 1997 - ECE
Click on a diagram below to view and purchase parts
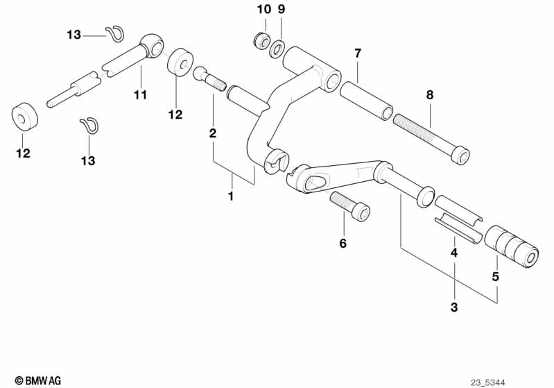
23_0288External gearshift parts/Shift lever
23_0849Transmission housing/cover23_0741Transmission gearshift parts
23_0734Transmission drive shaft
23_0730Manual Transmission23_07376-speed transmission shift components
23_0733Transmission hous./mount. parts/gaskets
23_07356 speed transmission-output shaft
23_07366-speed transmission, intermediate shaft













